
print/02
RFID & NFC
wireless digital assets for print, ...

RFID
Wat begrijp je onder
RFID
Radio-frequency identification (identificatie met radiogolven, RFID) is een technologie om van een afstand informatie op te slaan en af te lezen via zogenaamde RFID-tags die op of in objecten of levende wezens zitten






Principe

Vergelijkbaar met

- barcode scanner,
maar hoeft niet in
"line of sight" te zijn
- gegevens uitlezen uit een of meerdere
"tags" die niet (per se) zichtbaar zijn
RFID
evolutie
Sinds wanneer bestaat
RFID
Voor Tweede Wereldoorlog

1935

Robert Watson-Watt, een Schotse natuurkundige was op zoek naar een betrouwbare methode om piloten te helpen naderende onweersbuien te lokaliseren en te vermijden
Hij ontwikkelde RADAR (RAdio Detection And Ranging)
Watson-Watt realiseerde zich, terwijl hij
zijn apparaat perfectioneerde, dat
radiogolven gebruikt konden worden om
meer dan stormen te detecteren.
Radartechnologie in 1935


Vliegtuigen JIT (just in time) detecteren
- Op kilometers afstand detecteren, maar eigen vliegtuig of vijand?
- Duitsers vonden een manier om signaal te manipuleren

≈ passief RFID
Britten ontwerpen IFF
- = Identification friend or foe
- Ze plaatsten een zender op elk
Brits vliegtuig. Toen het signalen ontving van radarstations op de grond, begon het een signaal terug uit te zenden dat het vliegtuig als "vriend" identificeerde.


Terug naar RFID
- RFID werkt op hetzelfde basisconcept.
- Er wordt een signaal naar een transponder gestuurd, die "wakker" wordt en een signaal terugkaatst (= passief systeem) of een signaal uitzendt (= actief systeem).
- De vooruitgang op het gebied van radar- en RF-communicatiesystemen zette zich voort in de jaren vijftig en zestig...
Harry Stockman (1948)


Text
Patent op actieve RFID in 1973
Transponder apparatus and system
door Mario W. Cardullo
A novel transponder apparatus and system is disclosed, the system being of the general type wherein a base station transmits an ''''interrogation'''' signal to a remote transponder, the transponder responding with an ''''answerback'''' transmission
Patent op actieve RFID in 1973
Transponder apparatus and system

Patent op actieve RFID in 1973
Transponder apparatus and system

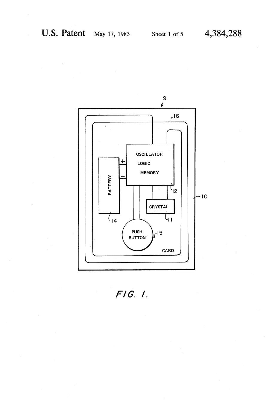
Patent op passieve RFID, ook in 1973
Portable radio frequency emitting identifier
door Charles Walton
An automatic identification system wherein a portable identifier, preferably shaped like a credit card, incorporates an oscillator and encoder so as to generate a programmable pulse position-modulated signal in the radio frequency range for identification of the user.
Patent op passieve RFID, ook in 1973
Portable radio frequency emitting identifier


hotelsleutelkaart kan een
passieve responder zijn


RF technology

RF technology


RF technology


Historische alternatieven
- Er werden gelijktijdig andere systemen ontwikkeld door o.a. de Amerikaanse overheid.
Het Energiedepartement moest nucleair materiaal traceren en daarom gaf de opdracht een oplossing te ontwikkelen.Deze oplossing, die in de jaren tachtig op de markt werd gebracht, bestond uit het plaatsen van transponders in vrachtwagens die nucleaire stoffen vervoerden, die onmiddellijk van buiten de poorten van nucleaire faciliteiten konden worden gelezen, waardoor de identificatie van de bestuurder en gegevens met betrekking tot zijn lading konden worden verkregen.
- Uiteindelijk alle systemen aangepast als passieve RFID-tags
Ook voor vee



Van LF naar HF naar UHF in RFID
- De bandbreedte wordt verhoogd van 125 kHz naar 13,56Mhz (High Frequency)
-
Waarom?
- Een groter bereik
- Snellere gegevensoverdrachtsnelheden
- Die frequentie is niet gereguleerd en ongebruikt
(in de meeste delen van de wereld)
Passieve laagfrequente (LF) en hoogfrequente (HF) tags kunnen worden gelezen vanaf een afstand van maximaal 0,9 meter, terwijl passieve ultrahoge frequentie (UHF) RFID-transponders doorgaans kunnen worden gelezen vanaf een afstand van 10 tot 20 voet (3 tot 6 meter) afstand. U kunt het leesbereik vergroten door een grotere antenne op de transponder te gebruiken om meer energie uit de lezer te halen en een sterker signaal terug te sturen. Er bestaan er zelfs vanaf 24,4 meter afstand met behulp van een gewone vaste RFID-lezer.
Van RFID naar UHF RFID

Geen regularisatie

Deze foto is AI-generated
Normen stellen
- In 1999 werd het Auto-ID-centrum opgericht door wetenschappers van het Massachusetts Institute of Technology (MIT) om het formaat van RFID-gecodeerde informatie te standaardiseren.
- Hadden eerder al EPC (elektronische productcode) voor RFID gemaakt.
- versienummer
- fabrikantnummer
- productnummer
- serienummer

EPC code


EPC code, het doel was
- Het RFID-gelabelde item aan een database te koppelen, met behulp van een Object Name System (ONS) vergelijkbaar met dat van het Domain Name System (DNS).
- De eerste test is uitgevoerd op een magnetron, waarin een RFID-lezer was geïnstalleerd die RFID-tags kon lezen die op magnetronmaaltijden waren bevestigd. De oven las de etiketten, identificeerde de database via de ONS en downloadde kookinstructies waarmee de magnetron het voedsel kon bereiden.



RFID vandaag
- Nu op grote schaal gebruikt om items in bijna elke sector te volgen, van biomedische laboratoria tot lucht- en ruimtevaart, techniek en logistiek.
- Het heeft veel voordelen ten opzichte van conventionele barcodes
- het opslaan van veel meer informatie
- het tegelijkertijd lezen van meerdere tags (die niet direct zichtbaar zijn) om zo vb items niet uit de opslag te hoeven halen.

Toekomst
-
Goedkoper
-
In nieuwe gebruikssituaties
-
bijhouden van temperatuur, locatie, ... voor gevoelige grondstoffen of componenten
-
kennis vóór de uiteindelijke productie, assemblage of verkoop.
-
-
In 2022 kondigde Walmart aan dat het het gebruik van RFID-technologie uitbreidde tot buiten "kledij" en ook andere kritische detailhandel zou omvatten.
Dit omvatte de thuis-, entertainment- en hardline-afdelingen, gericht op een breed scala aan producten.
Toekomst
-
Het proces van het lezen meer geautomatiseerd worden en zal niet altijd door de gebruiker worden geïnitieerd, omdat het lezen op andere manieren wordt geactiveerd
-
Aan elk bezit digitale identiteit
-
Meer connectiviteit
-
...
RFID
werking & toepassing
Het "RFID-systeem"
RFID-reader
RFID-tag
Actieve Tag
Passieve Tag
Semi-Passieve Tag



Het "RFID-systeem"
RFID-tag

Het "RFID-systeem"
Passieve RFID Tag
-
Doorgaans uit twee delen:
- een geïntegreerd circuit
-
een antenne
-
Geen extra bewegende delen of batterijen
- Een passieve tag moet door een lezer worden geactiveerd om gegevens over te dragen.
- Zonder de aanwezigheid van een lezer blijft de passieve tag in een passieve toestand.
- Een lange en stabiele levensduur

Passieve RFID Tag


Passieve RFID Tag

Passieve RFID Tag


Passieve RFID Tag
These tiny flexible PCBs have a coil, transistors and a little LED on them - when in the range of an RFID or NFC reader (such as that in your phone) the coils pick up the electromagnetic energy emitted and use them to blink the LED for a cool cyberpunk effect - no batteries required! These are seriously cool wearable LEDs that light up when close to contact-less payment terminals, NFC smartphones, 13.56MHz RFID card door locks, etc.
Het "RFID-systeem"
Semi-Passieve RFID Tag
- Minstens 3 delen
- een geïntegreerd circuit
- antenne
- batterij
-
GEEN ingebouwde zender
- Meer mogelijk
- een groter leesbereik
- de toepassing van extra functies zoals sensoren, realtime tracking en geluidsmeldingen
- Ideaal voor omgevingsmonitoring (vb temperatuur tracking)

Semi-Passive RFID Tag

Het "RFID-systeem"
Actieve RFID Tag
- Minstens 4 delen
- een geïntegreerd circuit
- antenne
- batterij
- ingebouwde zender
- Zendt energie rechtstreeks naar de reader in plaats van de energie van de lezer terug te reflecteren
- Extra functies
- een extreem groot leesbereik, geïntegreerde sensoren, meer geheugen en extra logica.
- Levensduur afhankelijk batterij
- Toepassing:
- goederen die constante realtime tracking en/of omgevingscontrole nodig hebben,

Actieve RFID Tag

Actieve RFID Tag

Actieve RFID Tag


Tomorrowland Bracelets
(2014)

Actieve RFID Tag

Het "RFID-systeem"
RFID-reader




Het "RFID-systeem"

RFID-reader
Het "RFID-systeem"

Het "RFID-systeem"

NFC
near field communication

NFC is een onderdeel van RFID
- Een RFID-standaard
- Werkt binnen HF (13,56Mhz)
- Twee-richting communicatie (ipv eenrichtingsverkeer)
- Communicatiemethode


NFC werkt met...
NFC werkt niet met...

NFC <-> FFC
Gegevens verzenden zonder internet
& zonder bluetooth

Actieve devices

Actieve devices

Actieve devices

Passieve devices

Passieve devices

Passieve devices


Passieve devices

Waarom niet Bluetooth?
- Bluetooth devices moeten eerst "gepaird" worden

NFC kan een tussenschakel zijn
- Via NFC "pairen", nadien via Bluetooth / Wifi

NFC
demo time

Praktijk
- We gaan een NFC-chip programmeren
- Haal je eigen NFC-device uit je zak
auteur
Frederick Roegiers

Frederick Roegiers
DigExp - PRINT/02 - RFID & NFC
By Lecturer GDM
DigExp - PRINT/02 - RFID & NFC
QR-codes: geschiedenis, gebruik, misbruik, tips, ... Auteur: Frederick Roegiers
- 624